易造新聞
防雷變壓器——專業分析,漲知識【杭州易造】
自然災害中閃電的沖擊電流極大,放電時間斷,感應電壓也達到一個極高值,對于各種人員、設施的傷害威脅亟待。其中變電站變壓器事故有三成是雷擊事故,并有逐年上升的趨勢,確保變壓器安全運行必須提高防雷變壓器的防雷可靠性。
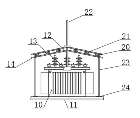
防雷變壓器具體地說是一種具有防雷作用的隔離變壓器。這種防雷隔離變壓器由鐵芯柱、初級線圈、次級線圈、屏蔽層和絕緣體組成,初級線圈、次級線圈組組合置于同鐵芯柱上,線圈之間設有和屏蔽層和絕緣體。本實用新型具有結構簡單、防雷效果好等優點。

隔離變壓器工作原理
隔離變壓器的原理和普通變壓器的原理幾乎是一樣的,都是利用電磁感應原理,主要隔離一次電源回路,二次回昊華電通路對地浮空,以保證用電安全。隔離變壓器一般是指1: 1的變壓器,由于次級不和地相連,次級任一根線與地之間沒有電位差,使用安全,常用作維修電源。
但隔離變壓器也不全是1:1變壓器,控制變壓器和電子管設備的電源也是隔離變壓器。如電子管擴音機,電子管收音機和示波器和車床控制變壓器等電源都是隔離變壓器,如為了安全維修彩電常用1比1的隔離變壓器,隔離變壓器是使用比較多的,在空調中也是使用的。

變壓器(Transformer)是利用電磁感應的原理來改變交流電壓的裝置,主要構件是初級線圈、次級線圈和鐵芯(磁芯)。主要功能有:電壓變換、電流變換、阻抗變換、隔離、穩壓(磁飽和變壓器))等。按用途可以分為:電力變壓器和特殊變壓器(電爐變、整流變、工頻試驗變壓器、調壓器、礦用變、音頻變壓器、中頻變壓器、高頻變壓器、沖擊變壓器、儀用變壓器、電子變壓器、電抗器、互感器等)。

隔離變壓器的作用
一般變壓器原、副繞組之間雖也有隔離電路的作用,但在頻率較高的情況下,兩繞組之間的電容仍會使兩側電路之間出現靜電干擾°。為避免這種干擾,隔離變壓器的原、副繞組一般分置于不同的心柱上,以減小兩者之間的電容;也有采用原、副繞組同心放置的,但在繞組之間加置靜電屏蔽,以獲得高的抗干擾性。
隔離變壓器在理論上屬于安全電源,一般用來機器維修、保養用,起保護、防雷、濾波作用。隔離變壓器是一種1/1的變壓器。初級單相220V,次級也是單相220v。或初級三相380V,次級也是三相380V。
通常我們用的交流電源電壓一根線和大地相連,另一根線與大地之間有220V的電位差。人接觸會產生觸電。而隔離變壓器的次級不與大地相連,它的任意兩線與大地之間沒有電位差。人接觸任意一條線都不會發生觸電,這樣就比較安全。
隔離變壓器的輸出端跟輸入端是完全斷路隔離的,這樣就有效的對變壓器的輸入端(電網供給的電源電壓)起到了一個良好的過濾的作用。從而給用電設備提供了純凈的電源電壓。另一用途是防干擾。可廣泛用于地鐵、昊華電通高層建筑、機場、車站、碼頭、工礦企業及隧道的輸配電等場所。
-End-
杭州易造科技有限公司是浙江省科技型企業,通過了ISO9001、ISO14001、ISO45001等管理體系認證,研發生產雷電預警系統、浪涌保護器、浪涌后備保護器、智能防雷監控系統等產品,產品通過了UL、CSA、TUV、CQC、CE等權威認證,?泛應?于風能、光伏、石化、軌道交通、建筑、通信、基礎設施等行業,是國內少數幾家同時擁有雷電預警和整套?電浪涌保護技術的專業?家。

易造科技持續研究防雷前沿技術,獲得了60多項知識產權和專利,擁有P1級全功能防雷實驗室,研發?程師具有20年以上資深?業經驗,可以滿?各?業用戶的深度定制要求。
相關文章:
此文關鍵詞: 防雷變壓器
聯系易造
聯系易造
CONTACT EYZAO
咨詢熱線:133-8651-1449
固定電話:0571-89721333
公司郵箱: eyzao@eyzao.com
營銷中心:浙江省杭州市蕭山區錢江世紀城寧一路9號
我要留言
LEAVE A MESSAGE
推薦產品
產品資訊MORE
2023.06.26
UL浪涌保護器:保障你的電器設備免受電壓突變的傷害-易造防雷…
2023.11.29
2021.10.25
2023.01.23
2022.04.18
浪涌前端保護開關手柄要怎么設計才合理-點擊查看技術專業解答-易造防雷…
2023.03.07
2022.11.02
2023.08.15
2023.06.08
2022.11.17
用戶評論
我要評論



