易造新聞
高壓線路安裝雷電記錄儀這二點很關鍵,看完受益匪淺【易造防雷】
高壓線路安裝雷電記錄儀這二點很關鍵,看完受益匪淺!雷電流記錄儀是一種高精度的雷擊記錄儀器,主要用于對直擊雷進行記錄,包括:雷電流波形、雷擊發生時間、雷電次數、雷電流波形峰值、單位能量值、雷擊極性等。并對數據存儲處理,采集的數據完整性好、準確度高。
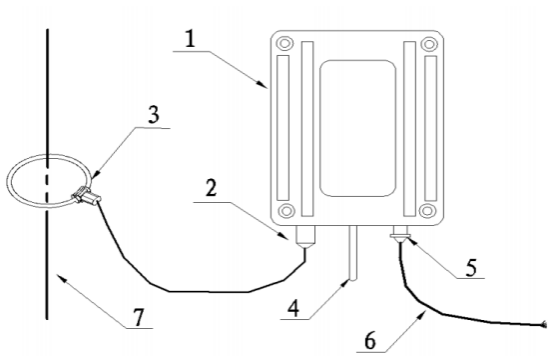
以下是雷電記錄儀產品的組成:

1、主控箱
2、主控板連接羅氏線圈
3、羅氏線圈
4、無線傳輸天線(可選)
5、直流供電和RS485總線連接插頭
6、五芯屏蔽電纜
7、接閃桿或接地引下線

那么在高壓線路上可以安裝雷電記錄儀嗎?
答案是可以裝的但是在產品設計時,需要考慮到氣候溫度和濕度,因為雷電記錄儀的運行是跟你安裝的環境息息相關。打個比方,假如你想要在東北地區安裝雷電記錄儀,產品的設計就要考慮到東北的低溫環境,以免產品在使用過程中出現運行障礙;而在南方因為環境潮濕,產品在使用過程之中,也是會受到影響的,因此需要做好防濕保護。

安裝雷電記錄儀在高壓線路上,有兩個地方可以接。
一、高壓線路上避雷保護線接地引下線可以裝;
二、高壓線路上高壓避雷器泄放的地線端也可以裝。
但是需要注意的是,在高壓電路上安裝雷電流記錄儀,需要注意供電和通訊兩部分。因為高壓上的電磁輻射非常大,在這種輻射環境下,要做更更高的屏蔽處理,同時在戶外,不可能有線通訊,需要做通訊。

易造EFZ系列雷電記錄儀,主要是與防護直擊雷的接閃器或引下線一起使用,也可安裝在高壓線路上的雷電記錄,并且具備無線傳輸功能。它采用柔性羅氏線圈為電流傳感器,能實時記錄雷擊發生時的各種參數,可以為雷電防護和雷擊事故分析提供數字依據,適用于電力、古建筑、軍隊、學校、醫院、交通、石油化工等行業,也可以和其他防雷措施組合一起來使用,為后期的防雷改造升級做好科學的規劃。

如果您想要了解安裝雷電記錄儀的更多資訊,歡迎到杭州易造咨詢,可以安排技術人員進行1對1的服務。
-End-
易造復合型浪涌保護器,20年設計壽命,小體積大通流,低殘壓、高TOV耐受1800V;MG串聯技術,0漏流0續流;密封型結構無外泄電弧,不起火。
易造電涌保護器采用鏈式放電技術,實現了SPD的能量自動協調功能,安裝時無需考慮兩級SPD間的距離,第二級SPD可以直接安裝于第一級SPD后端,安裝更方便!
易造浪涌保護器外殼采用PA66高阻燃絕緣材料,符合UL94V-0 RoHS REACH,一體化設計防震防潮耐高溫,易造電涌保護器廣泛應用于電力、新能源、通訊、建筑、軌道交通、石油石化等多個領域。
杭州易造是浙江省科技型企業,高品質防雷設備生產廠家,擁有全套風電浪涌保護器生產技術。主要生產一級浪涌保護器、二級浪涌保護器、三級電涌保護器、信號防雷器、直流防雷器、風電浪涌保護器等全系列防雷模塊,產品通過了UL、CSA、TUV、CQC、CE等權威認證,1500+規格型號,可滿足所有低壓設備的電涌防護要求。
相關文章:
此文關鍵詞: 安裝雷電記錄儀
聯系易造
聯系易造
CONTACT EYZAO
咨詢熱線:133-8651-1449
固定電話:0571-89721333
公司郵箱: eyzao@eyzao.com
營銷中心:浙江省杭州市蕭山區錢江世紀城寧一路9號
我要留言
LEAVE A MESSAGE
推薦產品
產品資訊MORE
2023.10.26
2022.12.02
2025.06.09
2022.03.24
2023.05.07
2022.09.05
2022.12.05
2022.12.05
2022.02.17
2023.01.23
用戶評論
我要評論






